Leakproof Power Installation

Congratulations on purchasing Leakproof Power (LP). Once installed LP will operate automatically in the event of a leak, to shut down the mains supply into the System. Should someone try to operate the system after it has been shut down no water will flow out of the faucet/outlet. Whenever there is no flow it is a signal that there is a leak somewhere in the system. LP will then allow you to reset, as per installation instructions and search for the leak. Once the leak has been fixed LP can be re-set to operate again.
This unit has been engineered and designed in Australia and produced  and tested under strict test conditions. The unit is supplied with ¼” bsp thread and suitable for Jaco, John Gues fittingst etc. in order to provide the flexibility to connect various hose sizes.

LP is restricted to cold water supply into homes, offices and recreational vehicles.
The mounting plate provided provides easy installation at a point above the System.

LP is rated up to 150psi but due to its construction flexibility will accept large spikes in pressure returning its form to perform its specified function. Temperature rating is to 160 degrees Fahrenheit (Approx. 70 degrees centigrade).


SET-UP AND OPERATION
The set-up for LP is critical in particular the bleeding of air from the system through the bleed valve during the set-up procedure.

LP is connected between the mains water supply and the System to be protected and an outlet; in most cases a faucet.

                                                              Diagrams - Click on the image to enlarge

Diagram 1
   
Diagram 2

 

 

INSTALLATION FOR REVERSE OSMOSIS SYSTEMS

The principal role for LP is the protection of the components placed under the greatest pressure load prior to the membrane and shut-off mechanism. In this installation you will need an extra tee and tap (1/4” npt or bsp)

CONNECTIONS

  1. Tube from mains
  2. Tube to system
  3. Tube prior to shut-off valve and inlet to membrane housing must be cut directly prior to the shut- off and a tee inserted. The outlets go to the shut-off and connection 3 of LP
  4. Tap to be screwed in.  Advisable to run a tube to collect water from test (as per ix below)

SET UP

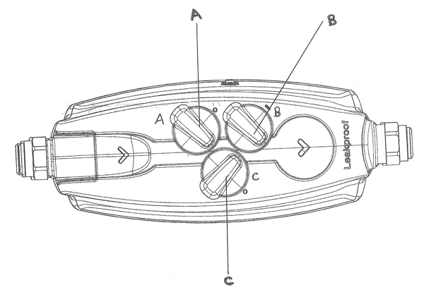
  1. Set operations tap (C) to off position
  2. Set Set-up tap (A) to on position
  3. Set outlet tap (4) to on position
  4. Turn on mains supply
  5. Gently turn on bleed tap (B) until a continuous stream (no-aeration) of water is produced
  6. Turn off bleed tap and turn off outlet tap (faucet) 4
  7. Turn off set-up tap (A)
  8. Turn on Operation  tap (C)
  9. Turn on outlet tap (faucet)(4) momentarily to ensure flow then turn off

LP is now ready for operation

INSTALLATION FOR UNDER SINK (NON-MEMBRANE) SYSTEM, CHILLER, ETC.
CONNECTIONS TO LP

  1. Tube from mains
  2. Tube to system to be protected
  3. Tube from system
  4. Tube to outlet/faucet

SET UP

  1. Set operation tap (C) to off position
  2. Set set-up tap (A) to on position
  3. Set faucet  / outlet (4) to on position
  4. Turn on mains
  5. Gently turn on bleed (B) until continuous stream (no aeration) of water is produced
  6. Turn off bled tap
  7. Turn off outlet / faucet (4)
  8. Turn off set-up tap 
  9. Turn on operation tap (C)
  10. Turn on faucet / outlet momentarily to ensure flowing normally then turn off

LP is now ready for operation

MOUNTING PLATE
The mounting plate provided is best fitted prior to testing. LP must be mounted at a point higher (above) than the System to be protected, hence the plate can be inverted to allow flexibility in your installation.

 

  © 2010 Leakproof POWER. All rights reserved. Powered by Media Web Factory